Evaluation within the 32-bit microprocessor project
Hardware evaluation ERC32 chipset : IU, FPU and MEC
Software development Alsys ERC32 Ada compiler and debugger
Hardware evaluation ERC32 computer core running since
Oct-95
VHDL system level simulations since Sept-95
Software development Ada compiler and debugger development on
DEM32 since Nov-95

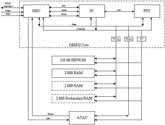
* RISC architecture based on the ERC32 processor core: IU, FPU and MEC
* Ada TAsking Coprocessor (ATAC)
* Fault tolerance support by concurrent error detection with high coverage, including error detection and correction (EDAC) of memory transfers
* Two RS232C standard serial ports for program download and debug.
* 2 Mbyte RAM expandable to 4 Mbyte RAM, and 2 MByte redundant RAM
* 128 kbyte start-up EEPROM
* Monitor for program download and debug
* System clock frequency 10 MHz, 0 Waitstate => ~ 7 Mips
Software development Alsys ERC32 Ada compiler or GNU C/C++ compiler
Software debug Alsys ERC32 Ada debugger on target or
GNU C/C++ debugger on ERC32 simulator
HW debug Test connector on internal buses
Target download Monitor / UART RS232
Hardware requirement RS232 and Power from VME crate
Hardware evaluation DEM32 V.1 SES Oktober 1995
DEM32 V.2 SES June 1996
Software development DEM32 V.1 Alsys Oktober 1995
DEM32 V.2 Alsys June 1996
Software evaluation DEM32 V.3 ESTEC December 1996
DEM32 V.3 ESTEC December 1996
DEM32 V.3 ESTEC December 1996
Hardware design Straight on interface between circuits
Wide variety of RAM organisations
Minimal Boot-strap requirement
Minimal support logic requirement
Hardware test/debug System error handler
Fault and error status registers
Error injection
On-line documentation
http://www.estec.esa.nl/wsmwww/erc32/docs.html
Other documentation DEM32 V.2 USER´S MANUAL